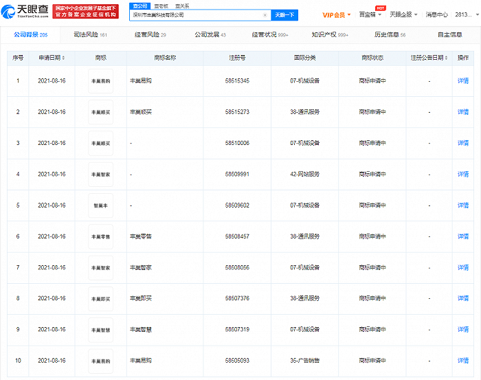
据天眼查APP显示,8月16日,深圳市丰巢科技有限公司申请注册多项“丰巢易购”商标,国际分类涉及网站服务、通讯服务等,目前商标状态均为申请中。
值得一提的是,同日,该公司还申请注册多项“丰巢顺买”“丰巢即买”“丰巢随购”“丰巢零售”商标,国际分类涉及网站服务、通讯服务等,商标状态均为申请中。

商标注册可以是为企业争取储备商标的一个途径,在实际运用中,商标注册需要经历的时间很久,所以提早进行商标布局有利于企业商标的积累,在后续的使用或者防御中起到一定的作用。若您对商标注册的相关信息不是非常了解,可以选择正规的代理公司,带路商标网以诚信立业,为客户提供最专业的商标代理服务。