• 企业400电话
  • 微网小程序
  • AI电话机器人
  • 电商代运营
  • 全 部 栏 目

    企业400电话 网络优化推广 AI电话机器人 呼叫中心 网站建设 商标✡知产 微网小程序 电商运营 彩铃•短信 增值拓展业务
    拼多多注册“拼夕夕”,自己山寨自己为哪般?!

    说起拼多多,它这几年发展确实非常迅猛,但在2018年左右,由于拼多多上大量白牌和山寨品牌的盛行,让很多买家收到跟商品表述和图像不符的产品,例如褪色的耐克,汏渍,立曰,立日,翢牌,甚至还有RTO或者RIQ等山寨品牌,故而导致拼多多用户忠诚度极低。

    然后,拼多多被卖家戏称“拼夕夕”,讽其平台商品质量差且货不对板。
    按理说被卖家这么讽刺了,拼多多应该在产品质量上做好把关的机制,毕竟只有质量得到了保证,才可以建立起良好的口碑,并能迅速进行推广。但小编看到了什么,拼多多居然把一个嘲讽梗给注册为商标?
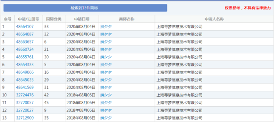
    不过上海寻梦公司不是最近才这么做的,早在2018年8月,该公司就曾申请注册过拼夕夕的商标,其国际分类包括“科学仪器”、“网站服务”、“社会服务”等,只是目前这些商标状态多数显示为“等待实质审查”。

    为了保护商标,知名企业不得不去注册可能永远也用不上的商标,比如阿里巴巴注册的“阿里妈妈”“阿里爷爷”,老干妈注册的“老千妈”、“老于妈”等192个类似商标。难怪大牌们会说:虽然知名企业抢注的一些商标很“搞笑”,但这一行为并不“可笑”,而是充满无奈。


    其实为了避免后期花费过多的精力进行维权,大多数的企业会选择注册相关商标来对品牌进行更好的保护。当一个商标注册成功之后,尤其是成名之后,时常会在同一种或类似商品上有意或无意的出现近似商标。为了尽可能地避免这种情况发生,保护商标的防御策略就显得尤为重要,企业会战略性地进行注册一些防御商标。“拼多多注册了‘拼夕夕’,很可能不是为了使用该名称,而是防止其它企业抢注这个名字‘碰瓷’拼多多。”

    带路小编认为,拼多多、阿里巴巴等企业广撒网注册一堆很可能不使用的商标,是目前企业维护商业权益的有效措施之一,虽然抢注了一些“搞笑”商标,但这一行为本身并不“可笑”,而是充满无奈。各种的“商标恶意抢注”事件不得不让人思考:一味地保护先注册的商标究竟是利是弊?!先不说拼多多注册“拼夕夕”的商标本意是否是为了维护本身的商标权益,其另一方面也在提醒着品牌方们维护商标权利的重要性。若您对商标注册的相关信息不是非常了解,可以选择正规的代理公司,带路商标网以诚信立业,为客户提供最专业的商标代理服务。


    上一篇:商标案例:美团异议失败之“美团智能锁MYTAN”商标准予注册
    下一篇:地标好故事:袁州茶油里的“品牌经”
  • 相关文章
  • 

    © 2016-2020 巨人网络通讯 版权所有

    《增值电信业务经营许可证》 苏ICP备15040257号-8

    拼多多注册“拼夕夕”,自己山寨自己为哪般?! 拼,多多,注册,拼夕夕,自己,