最近在写移动端 H5 应用,遇到一个值得记录下来的点。现在从它的由来到实现,我们来聊一下移动端 1px,说 1px 不够准确,应该说成 1 物理像素 。
通过阅读下面文章,你将会理解以下问题:
问题
- 为什么有 1px 这个问题?
- 实现 1px 有哪些方法?这些方法分别有哪些优缺点?
- 开源项目中使用的哪些解决方案?
- 如何在项目中处理 1px 的相关问题?
由来
基本概念
首先,我们要了解两个概念,一个是 像素(pixel) 可以简写为 px ,另外一个是 设备像素比(DPR)
像素 :指在由一个数字序列表示的图像中的一个最小单元,单位是 px,不可再次分割了。
设备像素比(DPR): 设备像素比 = 设备像素 / 设备独立像素。复制代码
下面我来简单解释下几个概念
- CSS 像素 (虚拟像素):指的是 CSS 样式代码中使用的逻辑像素,在 CSS 规范中,长度单位可以分为两类,绝对单位以及相对单位。px 是一个相对单位,相对的是设备像素。
- 设备像素 (物理像素):指设备能控制显示的最小物理单位,意指显示器上一个个的点。从屏幕在工厂生产出的那天起,它上面设备像素点就固定不变了,和屏幕尺寸大小有关。
- 设备独立像素 (逻辑像素):可以认为是计算机坐标系统中得一个点,这个点代表一个可以由程序使用的虚拟像素(比如: CSS 像素),这个点是没有固定大小的,越小越清晰,然后由相关系统转换为物理像素。 也就是说,当逻辑像素是 1pt 时,在 DPR 为 2 的 设备上显示为 2px 的物理像素
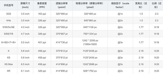
参考数据
各种类型的 iphone 手机屏幕设备的参数

注:这里的缩放因子呢,就是 DRP 的值
设计稿对比数据

会有人好奇,为什么设计稿上显示是 750x1334 呢,这是因为设计稿是显示的 物理像素
而我们 css 中的像素是 逻辑像素 应该为 375x 667,在编写代码时要将自定义宽度设置成 375px

那么此时设计稿上的 1px 宽度实际代表的 css 参数应该是 0.5px 对应物理像素 1px,那么怎么实现这个物理像素为 1px 呢
实践
归根结底有两种方案,一种是利用 css 中的 transfrom:scaleY(0.5) ,另一种是设置 媒体查询根据不同 DPR 缩放
解决方案一
原理
利用 css 的 伪元素 ::after + transfrom 进行缩放
为什么用伪元素?因为伪元素 ::after 或 ::before 是独立于当前元素,可以单独对其缩放而不影响元素本身的缩放
伪元素大多数浏览器默认单引号也可以使用,和伪类一样形式,而且单引号兼容性(ie)更好些
实现
<div class="cell border-1px"> cell <div>
<style>
.cell {
width: 100px;
height: 100px;
}
<!--全部边框-->
.border-1px:after {
content: '';
position: absolute;
box-sizing: border-box;
top: 0;
left: 0;
width: 200%;
height: 200%;
border: 1px solid #000;
border-radius: 4px;
-webkit-transform: scale(0.5);
transform: scale(0.5);
-webkit-transform-origin: top left;
}
<!--单边框,以上边框为例-->
.border-1px-top:before {
content: "";
position: absolute;
top: 0;
left: 0;
right: 0;
border-top: 1px solid red;
transform: scaleY(.5);
transform-origin: left top;
}
</style>
解决方案二(升级方案一)
原理
使用 less 对公共代码(方案一)封装,同时增加媒体查询分别对不同 DPR 的设备,进行不同的缩放
.border(
@borderWidth: 1px;
@borderStyle: solid;
@borderColor: @lignt-gray-color;
@borderRadius: 0) {
position: relative;
&:before {
content: '';
position: absolute;
width: 98%;
height: 98%;
top: 0;
left: 0;
transform-origin: left top;
-webkit-transform-origin: left top;
box-sizing: border-box;
pointer-events: none;
}
@media (-webkit-min-device-pixel-ratio: 2) {
&:before {
width: 200%;
height: 200%;
-webkit-transform: scale(.5);
}
}
@media (-webkit-min-device-pixel-ratio: 2.5) {
&:before {
width: 250%;
height: 250%;
-webkit-transform: scale(.4);
}
}
@media (-webkit-min-device-pixel-ratio: 2.75) {
&:before {
width: 275%;
height: 275%;
-webkit-transform: scale(1 / 2.75);
}
}
@media (-webkit-min-device-pixel-ratio: 3) {
&:before {
width: 300%;
height: 300%;
transform: scale(1 / 3);
-webkit-transform: scale(1 / 3);
}
}
.border-radius(@borderRadius);
&:before {
border-width: @borderWidth;
border-style: @borderStyle;
border-color: @borderColor;
}
}
.border-all(
@borderWidth: 1px;
@borderStyle: solid;
@borderColor: @lignt-gray-color;
@borderRadius: 0) {
.border(@borderWidth; @borderStyle; @borderColor; @borderRadius);
}
其他方案:
使用图片:兼容性最好,灵活行最差,不能改变颜色、长度
使用 viewport 和 rem , js 动态改变 viewport 中 scale 缩放,缺点在于不适用于已有的项目,例如:使用 vh 和 vw 布局的
<meta name="viewport" id="WebViewport" content="initial-scale=1, maximum-scale=1, minimum-scale=1, user-scalable=no">
使用 css 渐变 linear-gradient 或者 box-shadow
上述 3 种方案均有致命缺陷暂不推荐使用
兼容性
最后看一下兼容性如何,主要是伪元素、 transform:scale 和 min-device-pixel-ratio 这几个关键词的兼容性
开源库的解决方案
vant 组件库
跳去 github 查看相关代码
使用 less 写的
.hairline-common() {
position: absolute;
box-sizing: border-box;
content: ' ';
pointer-events: none;
}
.hairline(@color: @border-color) {
.hairline-common();
top: -50%;
right: -50%;
bottom: -50%;
left: -50%;
border: 0 solid @color;
transform: scale(0.5);
}
也是采用第一种解决方案
ant-design-mobile 组件库
跳去 github 查看相关代码
.scale-hairline-common(@color, @top, @right, @bottom, @left) {
content: '';
position: absolute;
background-color: @color;
display: block;
z-index: 1;
top: @top;
right: @right;
bottom: @bottom;
left: @left;
}
.hairline(@direction, @color: @border-color-base) when (@direction = 'top') {
border-top: 1PX solid @color;
html:not([data-scale]) & {
@media (min-resolution: 2dppx) {
border-top: none;
&::before {
.scale-hairline-common(@color, 0, auto, auto, 0);
width: 100%;
height: 1PX;
transform-origin: 50% 50%;
transform: scaleY(0.5);
@media (min-resolution: 3dppx) {
transform: scaleY(0.33);
}
}
}
}
}
.hairline(@direction, @color: @border-color-base) when (@direction = 'right') {
border-right: 1PX solid @color;
html:not([data-scale]) & {
@media (min-resolution: 2dppx) {
border-right: none;
&::after {
.scale-hairline-common(@color, 0, 0, auto, auto);
width: 1PX;
height: 100%;
background: @color;
transform-origin: 100% 50%;
transform: scaleX(0.5);
@media (min-resolution: 3dppx) {
transform: scaleX(0.33);
}
}
}
}
}
.hairline(@direction, @color: @border-color-base) when (@direction = 'bottom') {
border-bottom: 1PX solid @color;
html:not([data-scale]) & {
@media (min-resolution: 2dppx) {
border-bottom: none;
&::after {
.scale-hairline-common(@color, auto, auto, 0, 0);
width: 100%;
height: 1PX;
transform-origin: 50% 100%;
transform: scaleY(0.5);
@media (min-resolution: 3dppx) {
transform: scaleY(0.33);
}
}
}
}
}
.hairline(@direction, @color: @border-color-base) when (@direction = 'left') {
border-left: 1PX solid @color;
html:not([data-scale]) & {
@media (min-resolution: 2dppx) {
border-left: none;
&::before {
.scale-hairline-common(@color, 0, auto, auto, 0);
width: 1PX;
height: 100%;
transform-origin: 100% 50%;
transform: scaleX(0.5);
@media (min-resolution: 3dppx) {
transform: scaleX(0.33);
}
}
}
}
}
.hairline(@direction, @color: @border-color-base, @radius: 0) when (@direction = 'all') {
border: 1PX solid @color;
border-radius: @radius;
html:not([data-scale]) & {
@media (min-resolution: 2dppx) {
position: relative;
border: none;
&::before {
content: '';
position: absolute;
left: 0;
top: 0;
width: 200%;
height: 200%;
border: 1PX solid @color;
border-radius: @radius * 2;
transform-origin: 0 0;
transform: scale(0.5);
box-sizing: border-box;
pointer-events: none;
// @media (min-resolution: 3dppx) {
// width: 300%;
// height: 300%;
// border-radius: @radius * 3;
// transform: scale(0.33);
// }
}
}
}
}
这个值得研究下,比 vant 和 第一种解决方案有点不同,主要在于处理了 DPR 为 2 和为 3 的两种情况,相比来说更加完善。
这里 PX 大写,为了防止插件将 px 转成 rem 等单位
总结
通过该文,你大概了解 1px 问题的来龙去脉了吧,也明白了如何解决相关问题,如果这票文章能解决你的疑问或者工作中问题,不妨点个赞收藏下。
由于技术水平有限,文章中如有错误地方,请在评论区指出,感谢!
以上就是本文的全部内容,希望对大家的学习有所帮助,也希望大家多多支持脚本之家。