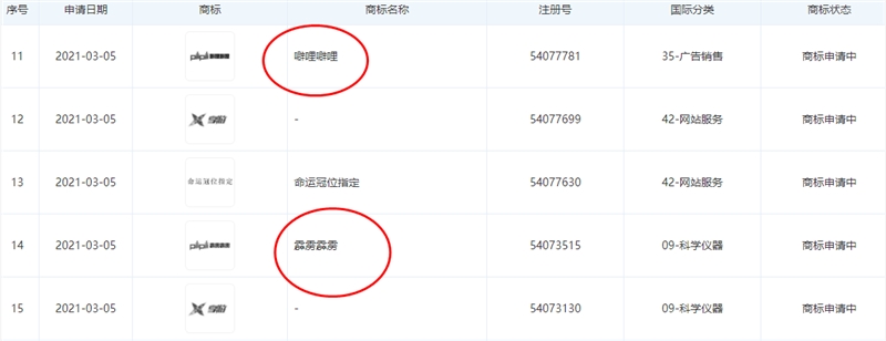
根据天眼查信息显示,B 站关联企业上海幻电信息科技有限公司申请注册 “霹雳霹雳”、“噼哩噼哩”商标,国际分类涉及广告销售、科学仪器、教育娱乐等,申请日期为2021年3月,目前商标状态为 “商标申请中”。

另外,上海幻电信息科技有限公司于3月3日还申请注册 “BVideo”、“bilibili 影业”等商标,涉国际分类教育娱乐、广告销售等,商标状态同样为注册申请中。
这并不是B站第一次申请“霹雳霹雳”、“噼哩噼哩”这类听起来有趣的商标名称,去年11月,上海幻电信息科技有限公司还申请注册 “呵呵呵”商标,国际分类为 “41- 教育娱乐”、“9- 科学仪器”。对于B站申请的商标你又是怎么看的呢?
以上就是为大家介绍的B站关联公司申请 “噼哩噼哩”、“霹雳霹雳”商标,希望对大家有所帮助,现在互联网已经进入到了短视频时代,如果需要抖音广告开户,抖音直播间付费推广开户或者托管的,都可以找我们咨询,现在开户优惠多多,还有返点,添加微信了解:veteran88