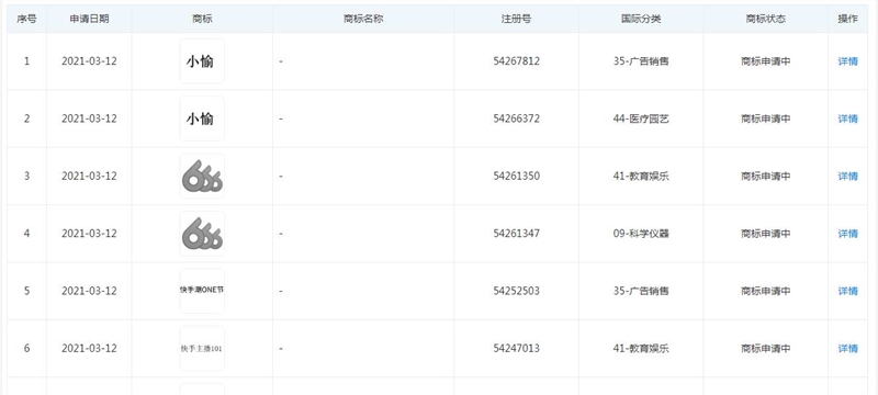
根据天眼查信息显示,3月12日,快手关联公司北京达佳互联信息技术有限公司申请注册了多个商标,包括“快手主播101”、“666”、“小愉”等。

资料显示,该公司申请的“快手主播101”商标国际分类为教育娱乐品类,商标状态为“商标申请中”。
“666”商标国际分类包括教育娱乐、科学仪器,商标状态同样为“商标申请中”。
资料显示,北京达佳互联信息技术有限公司成立于2014年07月02日,主要经营范围为计算机软硬件、网络技术、通信技术的技术开发、技术推广、技术转让、技术咨询、技术服务等。该公司持有北京快手广告、程度磁力引擎传媒等多家公司100%的股份。

以上就是为大家介绍的快手关联公司申请“快手主播101”、“666”相关商标,希望对大家有所帮助,现在互联网已经进入到了短视频时代,如果需要抖音广告开户,抖音直播间付费推广开户或者托管的,都可以找我们咨询,现在开户优惠多多,还有返点,添加微信了解:veteran88